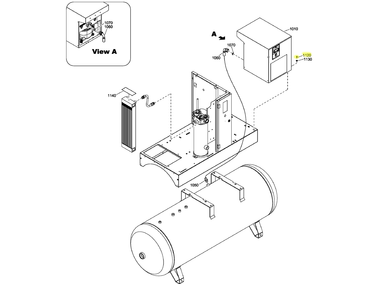
Quincy Compressor 0147132303 Screw
For QGS Dryers.
- 0147132303
Overview
Features
- Fits:
- QGS5 & QGS7.5 Dryer Assembly
- QGS10 & QGS20S Air Dryer
Need Help? Call an expert at 508-217-6345
We're open Mo-Th 8am to 5:30pm. Fr 8am to 5pm ET